
傳真:
18923864027
QQ:
709211280
地址:
深圳市福田區振中路84號愛華科研樓7層
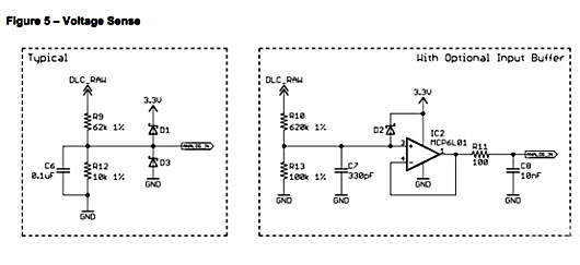
電壓檢測電路,24V低壓檢測電路介紹24V低壓檢測電路當電壓采樣速率低和要求低時,左邊電路圖即可滿足;當采樣速率和精度要求比較高時,采用
電路設計,低電壓控制高電壓解析行業規定安全電壓為不高于36V,持續接觸安全電壓為24V,安全電流為10mA,所以在各種電子產品中都有隔離控制
過驅動電壓Veff Vod的詳解過驅動電壓Veff Vod定義Veff=VGS-VTH,表示過驅動電壓。表示的是柵源電壓-閾值電壓。其實是一個變值,會隨VGS電壓
過驅動電壓對電路失配有什么影響運放失配設計圖1 電阻負載運放根據拉扎維《模擬CMOS集成電路設計》中14 2 1節的推導,電阻負載的運放的直
PMOS,NMOS的電流方向與工作區解析首先討論電流的參考方向,從結論直觀來看電流的參考方向定義為箭頭的方向(即對于兩種管子,電流的正方向都
開關電源的損耗改善方法圖文介紹開關損耗的改善輸入部分損耗1、脈沖電流造成的共模電感T的內阻損耗加大適當設計共模電感,包括線徑和匝數2
MOS管參數,MOS管散熱,功率,電流參數介紹MOS管有如下參數:Operating Junction :Tmin-Tmax。Continuous Drain Current(Rjc):I(T=Tc
模電分享,電壓源與電流源的轉換介紹電壓源可以等效轉換為一個理想的電流源IS和一個電阻RS的并聯。電流源可以等效轉換為一個理想電壓源US和
電流,電壓,電阻,功率關系解析電流、電壓、電阻、功率是電子電路中的重要技術參數,相關參量都可以根據其基本原理計算得出。本文主要對電流
電路設計,MOS管參數計算介紹MOS管參數計算設計電路尺寸時,需要用到薩支唐公式,那么如何得到公式中的Vth和unCox呢?方法1:看工藝的model
Cadence仿真,MOS管參數名稱詳解Cadence仿真中,MOS管的參數很多,有些參數可以直接添加到計算器中,進行數據的計算。type:MOS管類型,可能
Cadence仿真,NMOS管的漏端輸出電阻介紹NMOS管的漏端輸出電阻nmos管的輸出電阻可以將柵端接地,在漏端加一個直流電壓,測量Id ,然后作兩者